


电动固定式球阀
一、产品概述
电动球阀适用于两位切断、调节的场合。固定式电动球阀可直接接收计算机或工业仪表等输出的4~20mADC或1~5VDC控制信号,220VAC电源,根据阀位反馈信号与设定值比较偏差对执行机构驱动电机进行智能步距调整(PID调节),以实现与执行机构配套的阀门或其他装置开度的精确定位,同时输出4~20mADC的位置反馈信号。固定式电动球阀是新一代高性能球阀,适用于长输管线和一般工业管线,其强度、安全性、耐恶劣环境性等在设计时进行了特殊考虑,适用于各种腐蚀性和非腐蚀性介质。它与浮动球阀相比,工作时,阀前流体压力在球体上产生的作用力全部传递给轴承,不会使球体向阀座移动,因而阀座不会承受过大的压力,所以固定式球阀的转矩小、阀座变形小,密封性能稳定、使用寿命长,适用于高压、大口径场合。
二、产品原理
电动固定式球阀是新一代高性能球阀,适用于长输管线和一般工业管线,其强度、安全性、耐恶劣环境性等在设计时进行了特殊考虑,适用于各种腐蚀性和非腐蚀性介质。它与浮动球阀相比,工作时,阀前流体压力在球体上产生的作用力全部传递给轴承,不会使球体向阀座移动,因而阀座不会承受过大的压力,所以固定式球阀的转矩小、阀座变形小,密封性能稳定、使用寿命长,适用于高压、大口径场合。先进的弹簧预阀座组件,具有自紧特性,实现上游密封。每阀有两个阀座,每个方向都能密封,因而安装没有流向限制,是双向。
本阀有二块式和三块式两种阀体结构,中法兰用螺栓连接,密封采用增强聚四氟乙烯镶入不锈钢圈内,钢圈后部没有弹簧保证阀座紧贴球体,保持密封。上下阀杆均没有PTFE轴承,减少磨擦,操作省力,小轴底部没有调整片,保证球与密封圈的接处位置。
三、产品特点
(1) 操作省力:球体由上下轴承支撑,减少摩擦,消除了由于进口压力推动球体与密封座形成的巨大密封负荷而造成过大的扭矩。
(2)密封性能可靠:PTFE单性材料密封圈嵌于不锈钢阀座内,金属阀座尾端设有弹簧保证密封圈足够的预紧力,阀门在使用过程中密封面磨损时,在弹簧作用下阀门继续保证良好密封性能。
(3) 防火结构:为防止由于骤热或火灾的出现,使聚四氟乙烯密封圈烧毁,发生较大泄漏,而助长火势,在球体与阀座间设置防火密封环,在密封圈烧毁时,在弹簧力作用下,将阀座密封环迅速推向球体上,形成金属与金属密封,起到一定程度的密封效果。耐火试验符合APl 6FA和APl 607标准要求。
(4) 自动泄压功能:当阀门中腔停滞的介质压力异常升高超过弹簧的预紧力时, 阀座后退脱离球体,达到自动泄压的效果,卸压后阀座自动复位。
(5)排泄管路:阀体上下均设置排泄孔,可检查阀座是否发生泄漏,在工作中,阀门处于全开或全关时,卸掉中腔压力,可直接更换填料;可以排放中腔滞留物,减少介质对阀门的污染。辅助密封设置系统(客户需要请在订购时说明).
(6) 本阀门设计有辅助的阀座紧急密封系统,一旦密封受损或出现紧急十青况而不能密封时,通过辅助密封系统向密封面注射相应的密封剂即可修复密封面,达到紧急密封。当输送的介质不洁或含有少量颗粒时,为保护密封面,确保达到可靠的密封,还可给这一装置注射相应的清洗剂或润滑剂对密封面进行清洗。
(7) 广泛适用于食品、医药、石油、化工、天然气、钢铁、环保、造纸等输送管路介质的切断或流通。还可给这一装置注射相应的清洗剂或润滑剂对密封面进行清洗。
四、主要性能规范
|
试验压力ps(MPa) |
适用介质 |
||||||
|
壳 体 |
密封(液) |
密封(气) |
工作温度(℃) |
水、蒸汽、油品硝酸等腐蚀性介质 |
|||
|
1.5PN |
1.0 |
0.6 |
-40~+300 |
||||
五、主要零件材料
|
阀 体 |
球体、阀杆 |
阀 座 |
|
WCB |
2Cr13 |
加玻纤增强聚四氟乙烯、对位聚苯 |
|
ZG1Cr18Ni9Ti |
1Cr18Ni9Ti |
|
|
CF8 |
0Cr19Ni9-(304) |
|
|
CF3 |
00Cr19Ni11-(304L) |
|
|
ZG1Cr18Ni-12Mo2Ti |
1Cr18Ni12-Mo2Ti |
|
|
CF8M |
0Cr17Ni12-Mo2(316) |
|
|
CF3M |
00Cr17Ni14-Mo2(316l) |
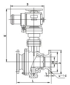
六、主要连接尺寸


|
公称通径 |
L |
H(mm) |
重量(kg) |
||||||||||
|
mm |
mm |
Q47 |
Q347 |
Q647 |
Q947 |
Q47 |
Q347 |
Q647 |
Q947 |
Q67 |
Q367 |
Q667 |
Q967 |
|
100 |
305 |
178 |
|
416 |
470 |
55 |
|
90 |
110 |
80 |
|
85 |
105 |
|
125 |
381 |
252 |
|
542 |
520 |
80 |
|
120 |
145 |
75 |
|
115 |
140 |
|
150 |
403 |
|
205 |
572 |
538 |
|
140 |
170 |
205 |
|
125 |
155 |
190 |
|
200 |
502 |
|
398 |
736 |
580 |
|
220 |
250 |
275 |
|
200 |
230 |
255 |
|
250 |
568 |
|
495 |
890 |
637 |
|
365 |
310 |
335 |
|
340 |
295 |
310 |
|
300 |
648 |
|
580 |
910 |
684 |
|
530 |
485 |
475 |
|
500 |
455 |
445 |
|
350 |
762 |
|
625 |
1020 |
796 |
|
740 |
600 |
600 |
|
695 |
555 |
545 |
|
400 |
838 |
|
720 |
1080 |
842 |
|
900 |
955 |
895 |
|
845 |
900 |
840 |
|
450 |
914 |
|
770 |
1120 |
874 |
|
1170 |
1250 |
1105 |
|
1105 |
1195 |
1045 |
|
500 |
991 |
|
840 |
1150 |
904 |
|
1340 |
1550 |
1360 |
|
1270 |
1480 |
1290 |
|
600 |
1143 |
|
1050 |
1210 |
1120 |
|
1580 |
1740 |
1495 |
|
1480 |
1680 |
1405 |
|
700 |
1245 |
|
110 |
1300 |
1218 |
|
1885 |
2000 |
1850 |
|
1785 |
1900 |
1750 |
|
800 |
1397 |
|
1150 |
1460 |
1328 |
|
2190 |
2310 |
2050 |
|
2070 |
2200 |
1930 |
不断提升服务质量,精益求精,“真诚的服务”是山东泰普阀门有限公司永恒的主题。山东泰普阀门有限公司严格按照 ISO9001-2000 质量体系认证要求,质量严格把关,责任到人,确保生产、销售、服务的健康运行。加强与用户沟通,竭诚为广大客户提供优质产品,至善至美服务,特此我厂做出如下承诺:
产品严格按照中国 GB、HG 标准和美国 API 等标准设计、制造、验收。密封面硬度达到国家规定要求,宽度超过国家标准。
产品介绍,技术交流,非标产品设计,疑难解答。
守信合同,保证及时供货,随时保持与客户联系。
对特殊或复杂的产品,我厂安排技术人员对用户进行产品使用、故障排除、调式及维修进行培训和指导。
山东泰普阀门有限公司产品质保期为自出厂起 12 个月,实行“三包”服务(包退、包换、包修)。
产品在使用中我厂定期组织技术、检查人员进行访问,征询用户对产品质量、使用状况、改进意见等方面的反馈,以便进一步提高产品质量。
对用户投诉产品质量问题,快速做出反映,售后服务人员在 24-36 小时(省外 48 小时)赶赴现场。
对售后服务,要求用户填写服务后的质量反馈表,并做出鉴定意见,一边提高山东泰普阀门有限公司的服务质量。
客户采购清单请传真至 0531-69926510,或来电咨询 0531-69926510}。
收到客户采购清单,为客户提供阀门型号选型与报价(价格清单)。
具体商定:交货期、特殊要求等事宜。
客户对产品有特殊要求,须在订货合同中提供以下说明:
结构长度
连接形式
公称直径、全通径、缩径、管道尺寸
运用介质及温度、压力范围
实验、检验标准及其他要求
本场可根据客户特殊要求配置各类驱动装置。
如由客户提供确定的阀门类型和型号时,客户应正确说明其型号的含义和要求,在供需双方理解一致的条件下签订合同。